TDA1543 x 8 : LiTe DAC AH
MFB Forum Member send this DAC , how will it measure 8 x TDA1543 , it’s been modified 1uF 500v capicitors in output Oeps check THD+Noise : 1 KHz 0 dBFs...
MFB Forum Member send this DAC , how will it measure 8 x TDA1543 , it’s been modified 1uF 500v capicitors in output Oeps check THD+Noise : 1 KHz 0 dBFs...
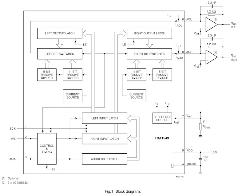
TDA 1543 Spec Datasheet The TDA1543 is a monolithic integrated dual 16-bit digital-to-analog converter (DAC) designed as an economy version for use in hi-fi digital audio equipment such as Compact Disc players, digital tape...