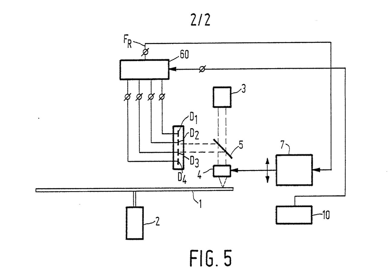
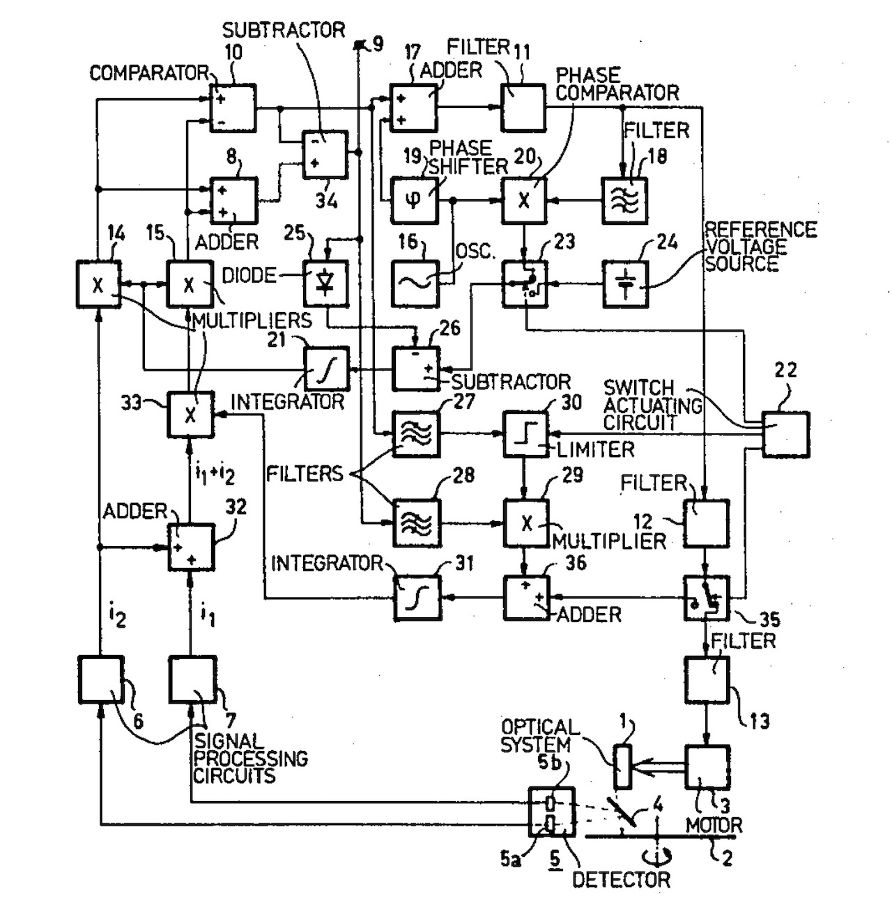
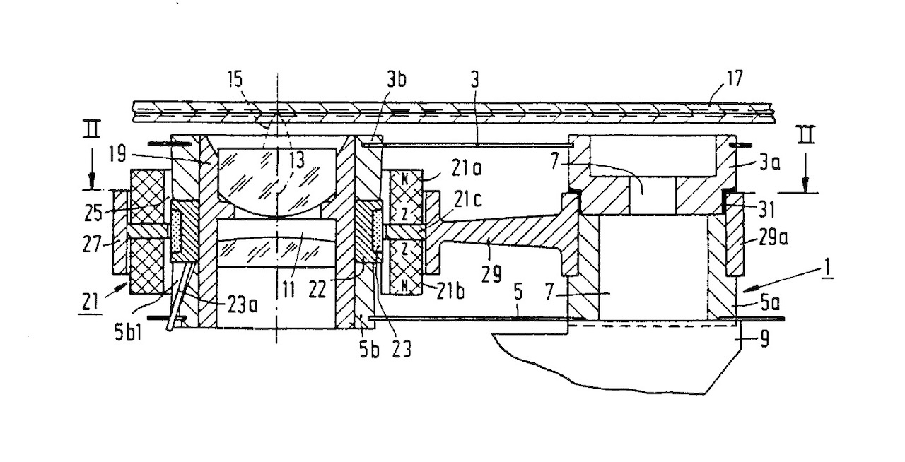
Smooth Lock-In of Servo Control When Switched On
Smooth Lock-In of Servo Control When Switched On An apparatus for playing optical discs is described, in which for a smoother locking-in of the focus servo control the focussing error signal is initially derived...
