Adaptor for Mini CD
Adaptor for a Mini CD
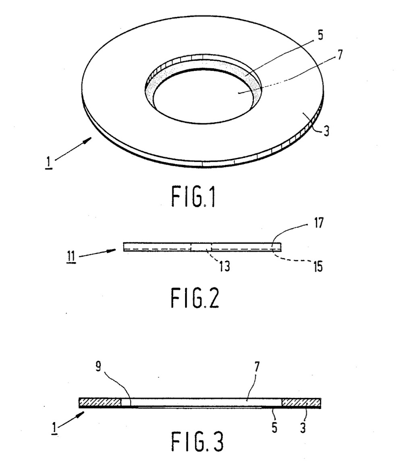
The invention relates to an adaptor which can a fixed to a rotatable disc record to be inscribed and/or read and having a specific outerdiameter, in particular an optical disc. The adaptor has ananularbody having an inner rim which bounds a center hole in which the disc record can be placed.
Patent –US4899330– ADAPTOR FOR MINI CD
Octrooi- NL8702202A – Adaptor voor een te beschrijven en/of uit te lezen schijfvormige plaat, alsmede een optische plaat voorzien van de adaptor

